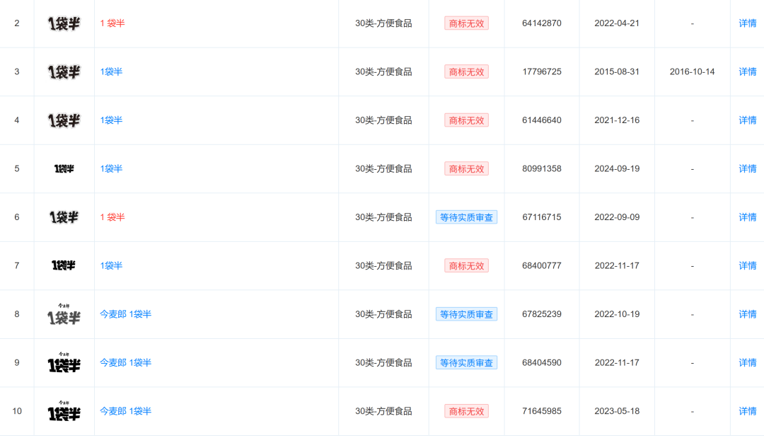
今麦郎“手打”挂面引热议。4月1日,今麦郎创始人、董事长范现国回应称,“手打”商标是2006年注册,随着时代的进步,消费者认知的提升,为了避免给大家带来产品表述上的困扰,今麦郎决定不再使用“手打”商标。而这件事其实早在十年前就有消费者开始质疑,甚至与经销商“对簿公堂”,财经生活帮记者在裁判文书网查询可以看到,2016年10月19日发布的《徐纲与武汉汉福超市有限公司汉阳分公司产品责任纠纷一审民事判决书》,其中描述:原告徐纲诉称:被告销售的“今麦郎、华龙系列手打面”其显著位置标注有“手打”字样,字样下方印制了手工制造面条的图案,原告认为该产品为手工制作,因此一直在被告处购买该产品。近日,原告获知该产品并非手工制造,只是普通挂面,遂向武汉市汉阳区食品药品监督管理局提出投诉。2016年3月28日,武汉市汉阳区食品药品监督管理局确定该产品标注“手打”违反了食品安全标准,并拟对其进行处罚。因被告销售的涉案产品属于不符合食品安全国家标准的食品,现原告向法院起诉,请求判令被告退回原告购买不符合食品安全标准食品的费用1457.60元,并依法给予14576.00元的赔偿,合计16033.60元;本案诉讼费由被告承担。被告武汉汉福超市有限公司汉阳分公司辩称:本案的涉案商品不存在质量问题,也不存在违反食品安全法的行为;产品是由今麦郎日清食品有限公司生产,今麦郎的商标属于驰名商标,而手打字样也是其注册使用的商标,“手打”两个字不属于对食品的宣传介绍;本案原告所述的争议问题是属于产品的包装宣传问题,应当是由生产厂商承担责任的范围。原告于2013年开始购买涉案产品,从购买时就应当知道自己的权利被侵害,原告现在诉讼,已经超过一年的诉讼时效。裁判文书中表述:本院认为,原告作为消费者购买商品,其合法权益受法律保护。本案诉争产品名称使用较大字体和显著颜色在包装袋上标识为“手打”,而对于手打面,广大消费者会理解为手工用擀面杖制作而成的面条,面条制作工艺为手工而非机制,但涉案产品实为机制挂面,违反了《食品安全国家标准预包装食品标签通则(GB7718—2011)》第3.4条之规定,易使消费者误解该产品为手工制作,误导消费者。对此,武汉市汉阳区食品药品监督管理局亦作出认定,故本案诉争食品“今麦郎、华龙系列手打面”系不符合食品安全标准的食品。一、被告武汉汉福超市有限公司汉阳分公司退还原告徐纲购物款1121.1元,于判决发生法律效力之日起十日内付清二、被告武汉汉福超市有限公司汉阳分公司向原告徐纲支付价款十倍的赔偿金11211元,于判决发生法律效力之日起十日内付清一个早在10年前就被法院认定违规,向消费者退一赔十的产品,却一直在消费者的争议中堂而皇之地又卖了10年,一直到4月1日,今麦郎创始人、董事长范现国发布视频称停产所有“手打”商标产品。《中华人民共和国广告法》第四条规定:“广告不得含有虚假或者引人误解的内容,不得欺骗、误导消费者。广告主应当对广告内容的真实性负责。”即便“手打”已注册为商标,当企业将其作为核心产品名称突出使用时,就不再单纯是商标标识,而是具有工艺暗示的宣传用语。仅凭一句“这是注册商标”就割裂与实际工艺的联系,本质是钻法律空子,逃避责任,已然触碰虚假宣传红线。一波未平,一波又起,今麦郎近日接连被推上风口浪尖。继“手打”商标风波后,有不少消费者发现今麦郎售卖的标有“1桶半”“1袋半”商标的方便面在产品面饼分量参照标准上存在含糊不清的问题。包装上印有“1桶半”“1袋半”商标的今麦郎产品面饼重量在110g—120g,而未标有上述字样的产品面饼重量普遍在90g—100g。财经生活帮记者联系今麦郎官方旗舰店了解“一桶半”的定义,工作人员表示这个问题超出客服权限。北京商报此前报道,在标有“1.5倍”字样包装的方便面以及一款面饼为110g标有“1桶半”字样的方便面产品详情页中,有一行小字备注:“量大多一半指与今麦郎鸡汁面(面饼70克)对比。”值得注意的是,在今麦郎多个平台的官方旗舰店内,均无法搜索到这款作为参照的鸡汁面产品。据了解,“1桶半”“1袋半”系列产品是今麦郎于2015年瞄准方便面市场中“大分量”产品空白而推出的产品。天眼查显示,同样在2015年,今麦郎申请了“1桶半”“1袋半”商标。其中,“1袋半”目前处于无效状态。据搜狐财经报道,2020年,今麦郎“1袋半”商标就因缺乏显著性且易使公众对商品分量产生误认被国家知识产权局裁定无效,2022年一、二审均维持原判。对于今麦郎“一桶半”“一袋半”相关问题,财经生活帮记者也致电今麦郎食品股份有限公司企业服务热线了解情况,工作人员表示对于此事不清楚,后续有专人进行回复,截至发稿前暂未收到相应答复。近些年,类似的“心机商标”屡见不鲜,总给人一种“每天重新认识一类大众消费品”的感觉。值得警惕的是,在利益诱惑下,备受争议的“心机商标”似乎正在形成一种不良行业风气。消费者因此陷入非常尴尬的局面:知道了他们是在欺骗,他们也知道自己在欺骗,法律也规定了商标不能存在误导性内容,但这些所谓的商标还在理直气壮地大行其道。如此“钻研”宣传话术,如此“优化”文字包装,长此以往,整个市场难免会陷入“重噱头、轻实质”的怪圈,最终透支公众对品牌的基本信任。《财经生活帮》记者 胡庆亮 综合:北京商报 中国新闻网 人民网 搜狐财经

来源:生活帮
编辑:胡庆亮
责编:李响
审校:荆彦
主编:杨玲涛
-
-
生活帮
山东广播电视台《生活帮》
作者:胡庆亮
阅读量:20.2W
打开“闪电新闻”看评论