山东AI视觉提供商极视角港股上市总市值已破百亿港币,“90后”董事长:来到青岛是我们做出的最正确的决定
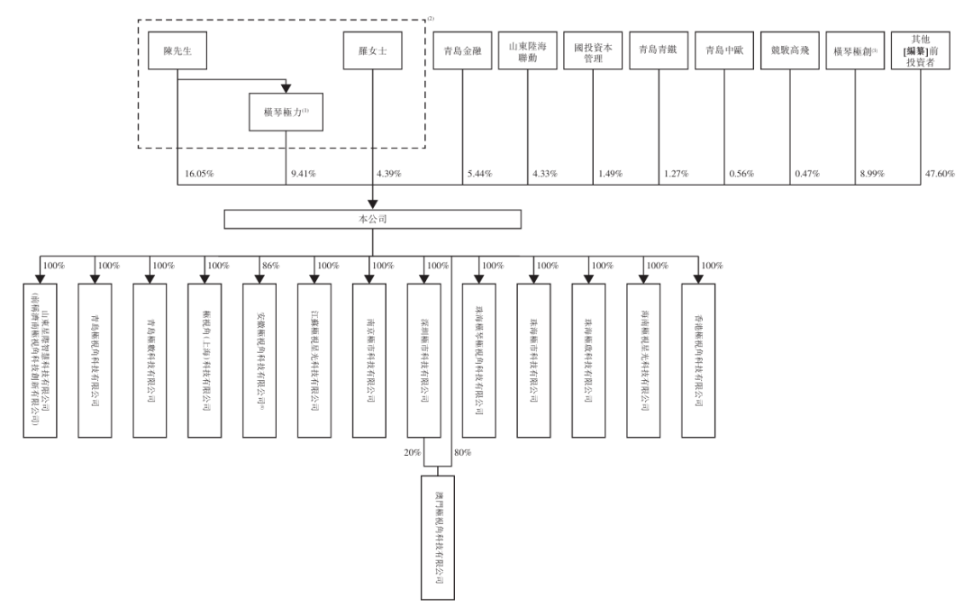
今天,山东极视角科技股份有限公司正式在香港联合交易所主板挂牌上市(股票代码:6636.HK)。发行价40元港币/股,最高价达到了94.7元港币/股,截至发稿时,总市值突破百亿,达到了104.7亿元港币。企业官网显示,极视角科技(EXTREME VISION) 成立于2015年,是国内领先的人工智能视觉算法与大模型应用平台,国家级专精特新“小巨人”、国家级高新技术企业,拥有上百项专利软著及资质认证,成功入围工信部人工智能创新任务揭榜挂帅榜单。公司已完成来自华润创新、高通中国、青岛经控集团、山东陆海联动等知名产业资本的融资,在青岛、深圳、上海、无锡、芜湖、珠海及港澳等多地设有分支机构。极视角开创了AI视觉算法商城,拥有高精度的全栈视觉语言大模型及1500余种图像识别算法,覆盖超100个行业场景,服务超3000家政企客户,成功打造了覆盖“云、边、端”的AI算法与大模型全域训标推一体化平台,汇聚数十万海内外开发者,致力于用更加前沿、高效、普惠的AI技术赋能千行百业的智能化转型升级。招股书介绍,根据弗若斯特沙利文的资料,按2024年的收入计,山东极视角科技股份有限公司于中国新兴企业级计算机视觉解决方案市场中排名第八。计算机视觉解决方案(作为AI解决方案的重要分支)是一种模拟人类视觉系统,使计算机从图像或视频中提取信息,并基于该信息进行分析、决策及交互的技术解决方案。中国AI计算机视觉解决方案市场竞争激烈。大模型解决方案是指基于大模型功能构建的应用,以及相关配套服务。随着AI解决方案的快速发展,山东极视角科技股份有限公司计划利用高效及包容性的AI技术,结合深厚的行业专业知识,加速企业智能转型,并推动行业升级。从股权架构来看,陈振杰、罗韵、横琴极力订立一致行动协议,承诺其于公司股权采取一致行动。截至招股书签署日,极视角由陈振杰、罗韵、横琴极力分别持有公司16.05%、4.39%、9.41%的股权,因此,陈振杰、罗韵、横琴极力被视为单一最大股东团体,其共同持有极视角已发行股份总数的29.84%。财务数据方面,2022年至2025年前三季度(以下简称“报告期”),极视角实现的营业收入分别为1.02亿元、1.28亿元、2.57亿元、1.36亿元;期内利润分别为-0.61亿元、-0.56亿元、0.09亿元、-0.36亿元。陈振杰,今年33岁,是极视角创始人、董事长、执行董事兼总经理,他于2013年6月获得中山大学供应链管理学士学位,2015年7月获得北京大学企业管理硕士学位。
因为看到了人工智能视觉领域的巨大潜力和发展空间,从而坚信通过打造一个全领域的人工智能视觉算法平台,可以为企业提供更丰富的AI应用算法及解决方案,推动各行业的智能化升级,2015年6月15日,陈振杰创立了深圳极视角科技有限公司,开启了他在人工智能视觉领域的探索之旅。2019年12月6日,陈振杰在青岛成立了青岛极视角科技有限公司,并于2021年将山东极视角科技股份有限公司落地青岛,正式开启了“极视角”与青岛的深度融合发展之路。对于为什么会选择山东青岛,陈振杰认为:“科技产业前期投入大、市场需求多、人才要求高,需要好的投资、市场和人才环境,内地许多城市都能满足,但青岛齐全的工业门类带来的大量应用场景,让我最终选择了青岛。”陈振杰说:“另一方面,山东、青岛对港澳企业的支持,也让我感觉到了十足的诚意和对未来满满的信心。”2024年2月,在青岛市服务业高质量发展大会上,陈振杰在发言中说:“来到青岛是我们做出的最正确的决定。”《财经生活帮》记者 胡庆亮
